本文北京標準軟管熔體壓力丝瓜IOS在线观看資料由優質丝瓜IOS在线观看生產報價廠家為您提供。
產品概述:
PT124B-111/111T係列,其中111T配有測溫傳感器,可實現壓力和溫度的同點測量。適用於塑料擠出行業的壓力測量,可與我公司的N係列智能數字壓力儀表配合使用,測量和控製壓力和溫度。零滿度可調,放大後的信號直接輸入到可編程控製器,內部校準為80%。這一係列產品已在中國廣泛使用。其優點在於壓力測量準確可靠,性價比高。用我公司的智能數顯儀表(n係列顯示報警,PD9001控製),可以實現係統壓力顯示報警或控製。
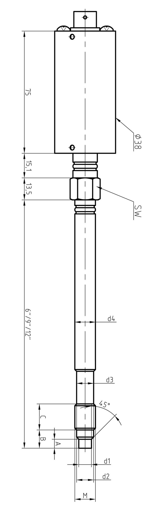
產品尺寸圖

產品特性:
不鏽鋼包裝
易於安裝
80%內部校準
良好的穩定性和重複性
技術規格:
範圍:0…3.5兆帕~ 0…150兆帕
綜合精度:1.0% fs。1.5%FS
輸出信號:4-20mA;
0-5V,0-10V;
電源電壓:24(12~36)伏直流電
工藝連接:1/2”-20 UNF,M14× 1.5,M18× 1.5,G3/4(客戶定義)
電氣連接:5芯,6芯
[北京標準軟管熔體壓力丝瓜IOS在线观看]相關產品:
產品型號產品名稱
PT124B-11X剛性杆係列高溫熔體壓力傳感器/丝瓜IOS在线观看係列
PT124B-12X軟管係列高溫熔體壓力傳感器/丝瓜IOS在线观看係列
PT124B-112剛性棒替代進口高溫熔體壓力傳感器/丝瓜IOS在线观看係列
PT124B-123軟管替代進口高溫熔體壓力傳感器/丝瓜IOS在线观看係列
PT124B-21X工業常溫係列壓力傳感器/丝瓜IOS在线观看係列
PT124B-22X液位丝瓜IOS在线观看係列
PT124B-28X工業防爆壓力丝瓜IOS在线观看係列
PT124Y-61X高溫熔體隔膜壓力表係列
PT124Y-62X衛生膜片壓力表係列
PT124B-25X工程設備(盾構機)專用壓力丝瓜IOS在线观看係列
PT124B-23X空調,專用冰箱/壓縮機壓力丝瓜IOS在线观看係列
PT124B-24X適用於汽車壓力丝瓜IOS在线观看係列
WR-20X工業溫度傳感器係列
BP10X爆破閥係列
1.訂購時請注明型號、名稱、測量範圍、接頭螺紋尺寸和精度等級。
2.如果您有任何特殊要求,請在訂購時說明。
3.訂單應以書麵形式發送給上海朝暉壓力儀器(對方銷售人員可傳真或電子郵件)。丝瓜视频网站接受口頭訂單。丝瓜视频网站公司將向您發送銷售確認書,並需要您的書麵確認。如有必要,可以簽訂相關合同。特殊訂單可以通過與丝瓜视频网站的銷售人員直接談判來解決。
4.收到您的訂單後,丝瓜视频网站將在三個工作日內發送確認函,並附上丝瓜视频网站的標準產品銷售條款。
產品運輸方式:
運輸方式可由用戶選擇或雙方同意。如果您選擇自己的運輸方式,用戶需要提供運輸公司的名稱、電話號碼、傳真號碼和其他所需信息。
地址:上海市鬆江區南樂路1276弄創意國際公園8號樓5-6樓。全國統一服務熱線:400-876-3876電話:86-0251691919,67755188傳真:86-0267755185官方網站:
《北京標準軟管熔體壓力丝瓜IOS在线观看》本文地址:http://www.dhcxdj.com/news/js/776.html 轉載請勿刪除!
全國服務熱線